ベッドの構造は下記図にあるようにベッドがワイヤーで滑車(ベアリング)を介して
ウエイトとバランスをとって吊り合いを保っている状態で これにより楽にベッドを
上下可動させる事ができます。
使用する時は、ストッパーに支持されてから人の乗り降りが可能となります。
このワイヤーはステンレスの3mm寄り線で耐加重は約730kgです これに対して
ワイヤーにかかる加重は2本で吊ってますので50kgの半分の約25kgとなり
安全率は730/25=29.2となり 通常のエレベーターのワイヤーの安全率15程度より
倍近く安全だと言えます。
ウエイトとバランスをとって吊り合いを保っている状態で これにより楽にベッドを
上下可動させる事ができます。
使用する時は、ストッパーに支持されてから人の乗り降りが可能となります。
このワイヤーはステンレスの3mm寄り線で耐加重は約730kgです これに対して
ワイヤーにかかる加重は2本で吊ってますので50kgの半分の約25kgとなり
安全率は730/25=29.2となり 通常のエレベーターのワイヤーの安全率15程度より
倍近く安全だと言えます。


上記図にありますウエイトは実際には、2.8kgの十数枚のウエイトプレートから構成されており、これを
増やしたり、減らしたりして重さ変えられる構造になっていますので、ベッドに載せるマットや布団の
重さに応じて調整していただいてバランスをとって使用していただくことになります
増やしたり、減らしたりして重さ変えられる構造になっていますので、ベッドに載せるマットや布団の
重さに応じて調整していただいてバランスをとって使用していただくことになります

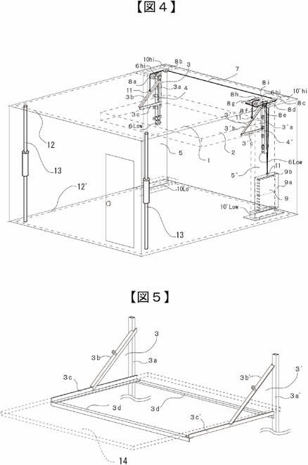
この図は実用新案に出願の図面のためいろいろ説明の記号が入っていますが
全体的な構成がお分かりになると思います。
1 昇降ベッド
2 ベッド本体
3 摺動レール
3a 摺動部材
3b 吊り下げ部材
3c 補強部材
4 レールガイド
5 耐力柱
6 ストッパー
7 ワイヤ
8 プーリー
9 ウエイト
10 耐力柱ガイド
11 アイボルト
12 ステ板
13 突っ張り棒
14 作業テーブル
15 ワイヤークリップ

これは 外レールと内レール(三角形)の構成です
摩擦抵抗で任意の場所に停止する構造を示しています

図4は特許庁に対して、ビス打ち不可能な賃貸物件でもアンカーを打たなくて
施工できますよという説明の図面です